https://www.tradgardsteknik.se/logotyper/bill_logo_1.png
Patric Torle
info@tradgardsteknik.se
0431-222 90
0431-222 70
Trädgårdsteknik AB tillverkar och bygger växthus, specialväxthus, orangerier, belysning Garden för hela Skandinavien.
Helsingborgsvägen 578
ÄNGELHOLM
262 96
SWEDEN

PVC-U unionskoppling extruderad   




PVC-U unionskoppling extruderad

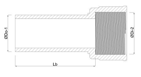
Den PVC-U tillverkade unionskopplingen tillverkad av rör, har en spigot x invändig gängmutteranslutning, för ett arbetstryck på 16 bar. Beslaget finns i en mängd olika storlekar.



Modell ØDi-1(mm) ØDi-2  Lb(mm)
BEVA0100925 32 1¼"(R32) 65
BEVA0100926 40 1½"(R38) 77
BEVA0100927 50 2"(R50) 88
BEVA0100928 63 2½"(R65) 99
För mer information kontakta oss på
0431-222 90


TRÄDGÅRDSTEKNIK AB
Helsingborgsv., Varalöv
262 96 ÄNGELHOLM
Telefon:
0431-222 90
Org Nr:
556409-6120
Webbadress:
www.tradgardsteknik.se
E-post:
info@tradgardsteknik.se